I libri pop-up digitali brevettati da Google
Hanno un sensore che attiva suoni e immagini quando si sfogliano le pagine, oppure una cornice in cui inserire un tablet su cui appaiono disegni in movimento

Il 4 marzo Google ha brevettato due nuove tecnologie per raccontare storie da applicare ai libri di carta: lo “Storytelling Device” o “Interactive Book” (in italiano “Dispositivo per raccontare storie” e “Libro interattivo”), e il “Media Enhanced Pop-up Book” (in italiano “Libro pop-up potenziato”). Il primo è un libro cartaceo con un sensore che capta i movimenti del lettore e attiva la proiezione di immagini e l’emissione di suoni da una piccola cassa. La cassa e il proiettore sono inseriti all’interno della costola del libro e si attivano a seconda dell’andamento della storia.
Gli elementi non cartacei dello “Storytelling Device”: sensori, casse e proiettori
Il brevetto riguarda in particolare il modo in cui i sensori attivano i contenuti audio-visuali allo sfogliare delle pagine. Lo “Storytelling Device” è una sorta di evoluzione dei libri per bambini con componenti sonore che permettere in più un’interazione automatica del lettore con il libro e quindi con la storia.
Un’immagine che spiega come gli effetti dello “Storytelling Device” sono attivati sfogliando le pagine
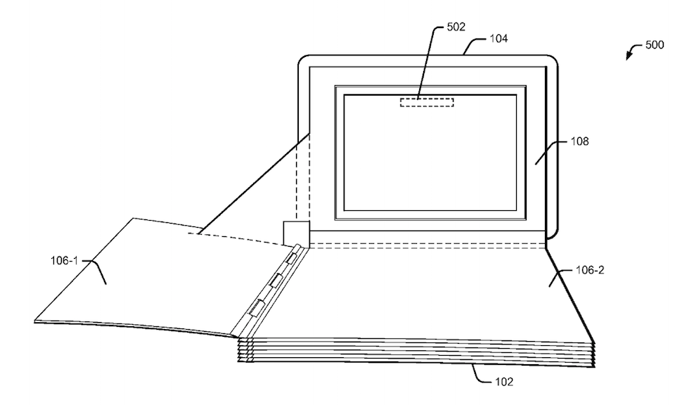
Il “Media Enhanced Pop-up Book” invece è un normale libro cartaceo che deve essere usato insieme a uno smartphone o a un tablet per attivare gli elementi di realtà aumentata: per ogni pagina del libro si apre una seconda pagina, orientata verticalmente, che costituisce una cornice per il dispositivo da usare. I contenuti aggiuntivi, immagini e suoni, provengono dal dispositivo e sono attivati sfogliando le pagine.
La struttura del “Media Enhanced Pop-up Book”
Il brevetto mostra come, ad esempio, la cornice di una casa descritta nel libro e ritagliata su una pagina verticale possa essere popolata da personaggi e oggetti che appaiono sullo schermo del dispositivo.
Come si può usare il “Media Enhanced Pop-up Book”
Versioni precedenti dei due brevetti erano già state registrate da Google nel gennaio 2015. Nel corso dell’anno negli Stati Uniti è stato registrato un calo delle vendite di ebook (meno 12,3 per cento) e un aumento di vendite di libri cartacei (più 12,4 per cento), il primo dal 2007.



