I sedili degli aerei saranno sempre più scomodi
Un nuovo brevetto di Airbus prevede una specie di Tetris umano: ma se vogliamo continuare a pagare poco i biglietti, ci tocca
di Andrea Peterson – Washington Post

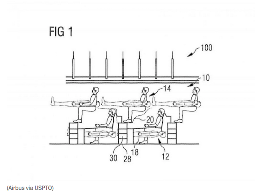
Airbus, l’azienda principale che produce aerei in Europa, ha depositato in un brevetto il progetto di un nuovo sistema di sedili per aerei che prevede una specie di Tetris umano: due file di sedili, uno sopra l’altro, come già accade in alcuni pullman.
L’immagine sembra tratta da un sito satirico o di bufale, e in effetti qualcuno sarcasticamente aveva già pensato a una cosa simile. Ma non è la prima volta che Airbus brevetta sistemi che sembrano una forma di tortura moderna. Nel 2014 finì su tutti i giornali la loro proposta di produrre sedili simili a quelli di biciclette. Ma Airbus non è la sola a progettare cose simili. Zodiac Aerospace France, un grande produttore di sedili per aerei, a luglio ha brevettato un sistema ad alveare che lascerebbe i passeggeri seduti uno di fronte all’altro. La colpa di questi progetti, però, non dipende dalla volontà dei progettisti di far stare scomodi i passeggeri, ma dalla progressiva democratizzazione dei voli aerei.
Viaggiare in aereo è diventato enormemente più economico negli ultimi 30 anni: è una cosa positiva, perché un numero sempre maggiore di persone può viaggiare o vedere i propri familiari con grande facilità. Ma con l’arrivo delle compagnie low cost e dei biglietti a prezzo ridotto, i margini di profitto per le compagnie si sono ridotti all’osso. Uno dei modi per tenere i prezzi sempre più bassi e concorrenziali è far stare un numero sempre maggiore di persone sugli aerei. Più persone riescono a stare su un aereo, più una data compagnia assorbe i costi fissi di farlo volare. Ecco perché i sedili si stanno restringendo sempre di più.
Ma c’è un limite a quanto si può restringere un sedile. Se le aziende vogliono continuare a far sì che sempre più persone prendano l’aereo, dovranno essere fatti sempre più compromessi. Quindi in futuro aspettatevi voli sempre meno confortevoli e brevetti sempre più assurdi.
© Washington Post 2015





