Storia di Frances Gabe e della casa che si pulisce da sé
Il New York Times racconta l'inventrice americana, famosa e poi dimenticata, e l'abitazione in cui i pigri vorrebbero vivere

«Le faccende domestiche sono un lavoro ingrato e senza fine. È una noia che dà sui nervi, chi mai vorrebbe farla? Nessuno!»
Quasi tutti condividono quest’opinione ma finiscono per risolvere il problema in due modi: rassegnarsi e prendere in mano aspirapolvere, stracci e spugne, o procrastinare fino a quando arriverà il momento di rassegnarsi e prendere in mano aspirapolvere, stracci e spugne. La persona che pronunciò quella frase però – in un’intervista al giornale Ottawa Citizen, nel 1996 – si impegnò a trovare una soluzione più radicale e definitiva: fu così che l’americana Frances Gabe – artista, disegnatrice di gioielli, inventrice e «persona non convenzionale», come si definiva – inventò e costruì la prima e unica casa al mondo che si pulisce da sola.
La storia di Gabe è stata raccontata qualche giorno fa dal New York Times a sei mesi dalla sua morte, avvenuta il 26 dicembre scorso a 101 anni: la notizia venne data soltanto dal sito di Newberg Graphic, dedicato ai fatti locali di Newberg, la cittadina in Oregon dove abitava Gabe. Alla fine degli anni Novanta però Gabe era un’inventrice conosciuta di cui parlavano riviste e giornali e che veniva invitata ai talk-show americani; compare anche nel libro Fugitives & Refugees (2003) di Chuck Palahniuk, dedicato a personaggi curiosi e strampalati dell’Oregon. Gabe, scrive il New York Times, è stata «un’americana davvero originale, contemporaneamente una sognatrice donchisciottesca e una visionaria di successo».
Nata nel 1915 in un ranch vicino a Boise, in Idaho, col nome di Frances Grace Arnholz, iniziò presto a seguire gli spostamenti della famiglia dovuti al lavoro del padre, che era architetto e costruttore: cambiò 18 scuole elementari e si fece notare da subito per un carattere difficile e impaziente. «Tutto si muoveva troppo lentamente – raccontò a Palanhiuk – L’ultimo giorno di scuola mi alzai in piedi e mi misi a urlare contro la maestra “ce l’ha già detto una settimana fa!”». Si diplomò alla Girls Polytechnic High School di Portland a 16 anni, a 17 sposò Herbert Grant Bateson e gestì con lui un negozio di riparazioni prima di spostarsi a Newberg, una piccola cittadina dell’Oregon. Divorziarono negli anni Settanta – «mio marito non mi piaceva più, quindi lo sbattei fuori casa», raccontò – e allora si inventò il cognome di Gabe, prendendo le iniziali del suo secondo nome e dei suoi cognomi da sposata e da nubile, e aggiungendo una e.
Fu in quel periodo che iniziò a immaginare una casa che si pulisce da sé. In un’intervista apparsa su Time nel 2002, Gabe raccontò di aver visto una chiazza di marmellata di fico sul muro della cucina e di aver afferrato esasperata il tubo da giardino per spazzarla via: «è più di quanto posso sopportare», pensò a proposito delle faccende domestiche, e si mise a pensare a una soluzione. In una versione più romanzata riportata dal New York Times, Gabe si descrive distrutta e in lacrime dopo il divorzio, a pregare: «Padre, dammi qualcosa da fare di così grosso, di così impegnativo e utile, che mi consumi tutta. Così riuscirò ad andare avanti». Nel momento di massimo abbattimento sarebbero arrivati due angeli, uno per spalla: «Presi una penna e iniziai a scrivere. Pensavo che fossero solo scarabocchi, poi mi fermai, guardai bene e lì c’era la casa che si auto-puliva»·

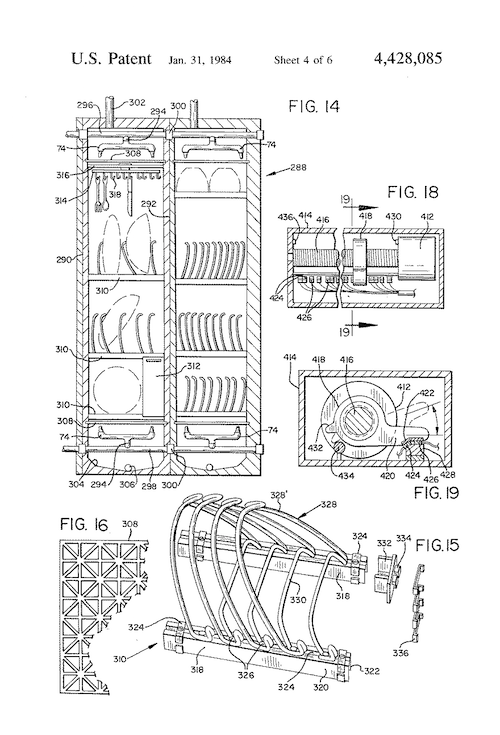
Il brevetto della lavastoviglie di Gabe
Gabe impiegò dodici anni a progettare e costruire la casa, interamente da sola: spese circa 15 mila dollari dell’epoca e quando nel 1984 registrò il brevetto, il numero 4.428.085, il costo della casa era di 50 mila dollari. Il brevetto comprendeva in sé altri 68 brevetti singoli tra cui: un armadio in cui i piatti sporchi venivano lavati e asciugati; lavandino, vasca da bagno e water auto-lavanti; un’ingegnosa lavatrice in cui gli abiti venivano lavati e asciugati sulle grucce, che poi scorrevano in ordine fino all’armadio più vicino.
La casa di Gabe era una sorta di grande lavatrice o auto-lavaggio: una villetta di blocchi di calcestruzzo di circa 90 metri quadrati, con tutte le stanze munite di un irrigatore sul soffitto e pavimenti inclinati per il deflusso. Ogni idrante si attivava premendo un bottone che spruzzava acqua saponata su mobili, finestre e pareti; poi usciva l’acqua del risciacquo e per ultimi getti d’aria calda che asciugavano tutto. Lo sporco e l’acqua in eccesso defluivano dai pavimenti in un canale diretto al canile, dove venivano lavati in un sol colpo anche i suoi cani (degli alani). L’operazione completa durava meno di un’ora e lasciava la stanza perfettamente pulita; Gabe racconta che l’attivava circa due volte l’anno.
Ovviamente un sistema del genere non si poteva applicare a una casa tradizionale, con tende, tappezzeria e legno: Gabe aveva progettato accuratamente anche gli interni per evitare che mobili, fotografie e libri si rovinassero. I pavimenti erano ricoperti di vernice antivegetativa e i mobili erano protetti da resina acrilica, le lenzuola restavano asciutte grazie a una tenda cerata stesa sul letto, la tappezzeria era fatta di un tessuto impermeabile, fotografie e quadri erano protetti dalla plastica e i vari ninnoli racchiusi in teche di vetro. Gli oggetti elettrici erano accuratamente ricoperti, carta e giornali erano protetti in contenitori di plastica impermeabile e i libri venivano conservati in copertine resistenti all’acqua inventate da Gabe.
Un video dell’artista Lily Allen che propone un nuovo modello di casa che si pulisce da sé dopo aver visitato nel 2008 quella di Gabe
Per Gabe la sua invenzione aveva anche una portata sociale e avrebbe liberato le donne dalle pulizie, che all’epoca erano una faccenda quasi esclusivamente femminile: «Potete parlare quanto volete della liberazione delle donne ma le case sono ancora progettate in modo che le donne debbano passarci metà del tempo in ginocchio o infilando la testa in un buco» disse al Baltimore Sun nel 1981. E ancora: «Il problema è che le case sono progettate dagli uomini. Ci mettono troppo spazio e poi sei tu a dovertene occupare». Con suo stupore non tutte erano contente della sua invenzione e nel 2006 Gabe raccontò al Guardian che un gruppo di casalinghe di Newberg si era presentato a casa sua «urlando che stavo togliendo loro il lavoro e che se non avessero dovuto pulire le case i mariti non avrebbero avuto più bisogno di loro. E io risposi “be’, non pensate che i vostri mariti preferiscono che abbiate più tempo libero da passare insieme?”». Considerato il caratteraccio di Gabe non è da escludere che le casalinghe protestassero per altri motivi. Allyn Brown, suo avvocato e amica da una vita, la descrive come «un tipo molto difficile […] il genere di persona che si vede spesso nelle piccole cittadine; penso che nessuno a Newberg conoscesse davvero il suo nome. Aveva un rapporto conflittuale con tutti i suoi vicini e non faceva niente per ammorbidirlo». Cose che potevano disturbare la mentalità non proprio cosmopolita di Newberg: tenersi una betoniera costantemente funzionante in giardino; essere circondata da alani ringhiosi; lavorare in giardino nuda.

Il brevetto dell’armadio coi vestiti che si lavano da soli
Gabe girò gli Stati Uniti mostrando un modellino della sua casa nelle università, nei musei e nei club femminili nella speranza di convincere qualcuno a ricostruirla, ma quella di Newberg è rimasta l’unica abitazione che si pulisce da sola. Costruirla era difficile, dispendioso e un po’ scomodo e anche il caratteraccio di Gabe non aiutava. Mantenere un brevetto poi è molto costoso, i diritti scaddero nel 2002 e Gabe non poteva permettersi di rinnovarli (pagava il suo avvocato in Pepsi, per dare un’idea); dovette rinunciare al sogno di case e interi quartieri che si pulivano da soli e ripiegò facendo pagare 25 dollari a testa a chi voleva visitare la sua casa. All’epoca l’unica stanza perfettamente funzionale era la cucina, dopo che le altre erano state danneggiate da un’alluvione e da un terremoto. Nel 2002 e nel 2003 il modellino venne esposto al Women’s Museum di Dallas, mentre ora fa parte della collezione permanente del Hagley Museum di Wilmington, in Delaware. Nel 2008 la proprietà fu venduta e Gabe fu portata – scalciante e controvoglia, racconta il nipote Kevin Selander – in un ospizio. La sua casa è ancora lì e ha un nuovo proprietario: «un tizio hippie – racconta Selander – che ci si trova molto bene», anche se deve pulirsela da sé.
Gabe ha avuto due figli, morti entrambi qualche anno fa, ha decine di nipoti e parecchi pronipoti. Oltre a quel che resta della sua casa e agli innumerevoli brevetti, lascia anche un’autobiografia per ora mai pubblicata, dove scrive: «Non voglio cancellare le faccende di casa, la maternità, il fare da moglie, soltanto la dura estirpazione dello sporco. Cenerentole, godetevi chi lo fa per voi».



